Industrial Process Air Heaters
Industrial air heaters are robust heaters designed with heavy-duty construction, making them perfect for the toughest air processing applications. They are resistant to dirt, vibration, and contamination. The optimal sheath material and maximum allowable watt densities are used to minimize size, weight, and footprint.
Electric Process Air Heaters from Durex Industries
Durex Industries manufactures a variety of industry standard process air heaters with carbon steel mounting flanges, stainless steel support rods, element support spacers, and insulation collar. We also provide custom-engineered electric air heaters that are well suited for the needs of many heavy-duty industrial and process applications. Offering custom sizes, volts, watts and watt densities, temperature sensors, thermostats and temperature control panels.Medium temperature air heaters are for more economical, lower temperature applications to 750°F (400°C). High-temperature air heaters are designed for elevated process temperature applications to 1200°F (650°C). Replaceable heating element designs, as well as modular "bank" type designs, are available.
Process Air Heater Design Features:
- Incoloy® sheathed heater elements for long life, corrosion-resistant performance
- Stainless steel sheathed heater elements also available
- Recompacted element bends remove voids to ensure insulation integrity
- Stainless steel element spacers & supports to ensure spacing and prevent sagging
- Thermally insulated terminal enclosure keeps wiring cool & reduces heat losses
- Integral sensors, thermostats or control panels for temperature control and sensing
- c-UL recognized elements to 600VAC available assuring safe & reliable performance
Considerations When Applying Industrial Air Heaters
Depending on your application, there are a variety of things to consider with inline duct heaters.- Hazardous location installation
- Voltage rating, phase, and kW power rating
- Available Amps at the site of installation
- Minimum expected inlet temp & max outlet temp
- System pressure or air pressure in the duct
- Temperature control and sensing scheme
- Airflow rate in SCFM
- Space Limitations for installation or heater removal
- Outdoor or indoor installation
- Ambient environment operating conditions
Contact Durex Industries Today for Process Air Heaters
Durex Industries designs and manufactures electric process air heaters, as well as other high-quality electric industrial heaters, temperature sensors, controls, and turnkey process heating systems. With decades of engineering experience, we can find the perfect industrial heater solution for your application.- High Temp Heater Features
- Medium Temp Heater Features
- Specs & Options
- How to Order
- Typical Applications
- Literature Downloads
Process Air Heaters High Temp Heater Features
Back to Top- 5 to 300 kW Ratings at up to 480V
- 1200°F (650°C) Max. Outlet Temperature
- Up to 20 W/in² Rating
- Insulated Stand-Off Housing for Cool Wiring Temperatures
View Standard Designs


Process Air Heaters Medium Temp Heater Features
Back to Top- 5 to 60 kW Ratings at up to 480V
- 750°F (400°C) Max. Outlet Temperature
- Up to 15 W/in² Rating
- Enclosure-Side Insulation for Cool Wiring Temperatures
View Standard Designs


Process Air Heaters Specs & Options
Back to Top
Temperature Control & Sensing Options
Air Heaters With Temperature Sensors
Process Sensors - A thermocouple or RTD sensor probe is inserted into a thermowell in the heater to measure duct air outlet temperature. Type J and Type K thermocouples and Pt 100 Ω DIN Curve RTD sensors are the most common used. Standard sensor lead length is 72” (1825mm). Specify sensor type and lead length when ordering.
High Limit Sensors - A thermocouple or RTD sensor probe is fed through the mounting flange and clamped directly to a heater element. This allows for early detection of element over temperature conditions that may shorten heater life. An alternative is to insert the high limit sensor into a thermowell that is clamped or welded to the heater element sheath. This facilitates easy sensor replacement, but at the expense of a slower sensor response time. Standard lead length is 72” (1825mm). When ordering, specify sensor type, sensor mounting style and lead length.
Industrial Air Heaters With Bulb & Capillary Thermostats
Thermostats - Single pole (SPST) and double pole (DPST) available. Optional knob & bezel
| Description | Maximum Voltage | Maximum Amperage | Bulb Length | Bulb Diameter | Capillary Length |
| 0-100°F SPST | 240V | 20 A | 3.3" | .24" | 36" |
| 85-230°F SPST | 240V | 20 A | 3.3" | .24" | 36" |
| 120-570°F SPST | 240V | 20 A | 3.5" | .20" | 36" |
| 0-100°F DPST | 480V | 10 A / pole at 480V 30 A / pole at 240V |
4.5" | .375" | 84" |
| 60-250°F DPST | 480V | 4.5" | .375" | 60" | |
| 100-550°F DPST | 480V | 4.5" | .375" | 60" |
Process Air Heaters With Temperature Control Panels
Durex Industries electrical temperature control panels meet a wide variety of industrial requirements by providing an extensive line of standard and custom engineered solutions. All temperature control panels are fully pre-wired and tested at the factory and come with a set of drawings including schematics and installation and maintenance manuals. Standard temperature control panels include NEMA 12 enclosure, main power disconnect, process temperature controller, pilot lights, panel labels, primary and secondary fusing, and ventilation fan /filter (if required). Other options available.
Construction Options
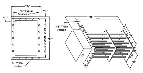
Custom Voltage and Power Rating - A large variety of standard high-temperature and medium temperature process air heater designs are available. However, custom volts, watts and watt density designs are available upon request.
Duct Configuration and Plate Flanges - In addition to the standard duct heater designs, Durex will custom design and fabricate purpose-built duct heaters to fit virtually any duct size and mounting flange requirements. Standard mounting flanges are carbon steel, however, 304 stainless steel and 316 stainless steel are readily available alternatives. Support rods, element support spacers and insulation collar are all of stainless steel construction standard.
Replaceable Heater Elements - Durex standard design air heaters use seal-welded heater elements. Optional replaceable heater elements can be specified with retaining clips or gas-tight compression fittings. Retaining clips keep elements in place and allow easy replacement in minimal pressure applications. Compression fittings offer field replacement, while still providing a gas-tight seal. Contact Durex for assistance in specifying replaceable elements.
Seal Options
Silicone Conformal Coating – On standard heaters, this seal provides general moisture / contamination protection to 220°F (105°C). However, it is porous and will allow moisture penetration over time. Not recommended for storage or use in high humidity environments.
Silicone RTV – Offers improved moisture and contamination protection to 400°F (200°C). However, it is also porous and will allow moisture ingress over time.
Epoxy Seal – Offers the best moisture and contamination protection of these seal choices. Rated for 450°F (230°C), this seal has low porosity and is recommended for higher temperature applications, high moisture environments and where long term storage is foreseen.Process Air Heaters How to Order
Back to TopTo place an order, or get a quotation, please provide the information itemized below or contact Durex Industries for further assistance.
- Quantity
- Electrical Rating - Voltage, phase, wattage
- Duct Size - Provide interior duct height and width dimensions
- Duct Heater Configuration - High temp or medium temp duct heater design
- Flange Size and Material - Provide information or advise if Durex to provide
- Element Diameter and Quantity - If known or indicate Durex should provide
- Element Watt Density - 20, 23, 30 W/in2 or indicate if Durex should provide
- Dimensional Information - Refer to high temp or medium temp for required dimensions.
- Seal Type - Silicone conformal coating (standard), RTV or epoxy.
- Electrical Enclosure - NEMA 1(standard) or NEMA 4 (moisture resistant)
- Sensing & Control - None (standard), process sensor type or/and high limit sensor type
- Other Custom Specifications - Specify as required
Process Air Heaters Typical Applications
Back to TopThey are typically used in forced air ducts to heat the airflow for processing applications, and they can also be found in:
- Industrial Drying & Curing
- Heat Treating
- Reheating & Dehumidifying
- Autoclaves
- Convection furnaces
- Core & Refractories Drying
- Load Banks
